| 后台-系统设置-扩展变量-手机广告位-内容正文顶部 |
进销存-采购-要货退货操作手册
一、功能介绍
查看要货退货单,对要货退货单进行审核、收货导出等操作。
二、操作路径
通过【总部】-【进销存】-【采购】-【要货退货】进行操作。
三、操作流程
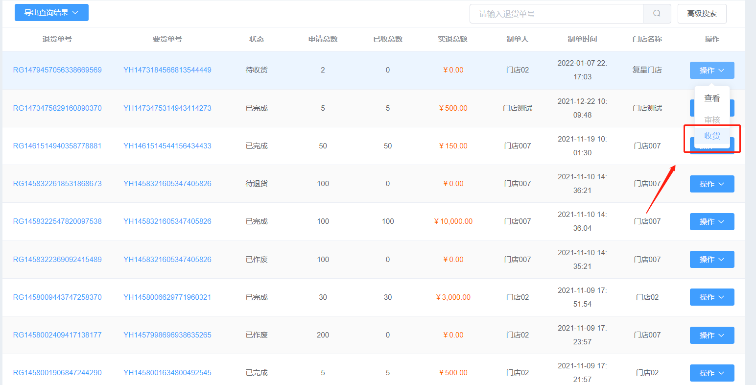
1.查看
登录总部,进入到要货退货页面,点击“操作-查看”按钮,进入到要货退货详情页面。


2.审核
进入到要货退货页面,对待审核的要货退货单点击“操作-审核”按钮,进入到要货退货详情页面。

进入到详情页面点击“审核”按钮,弹出退货单审核弹窗,点击通过审核按钮,退货单审核通过;点击驳回按钮,退货单审核驳回。


3.发货
进入到要货退货页面,对待收货的要货退货单点击“操作-收货”按钮,进入到要货单详情页面,点击“确认收货”按钮,弹出收货提示弹框,点击确定收货成功;点击取消收货失败。



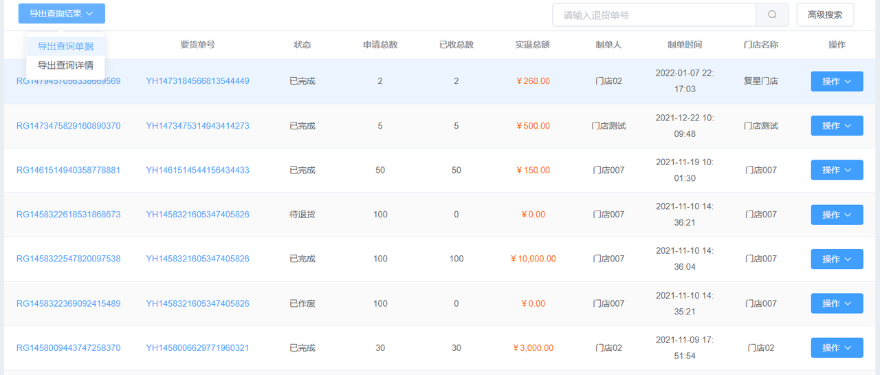
4.导出
导出时,会按右侧搜索中的筛选条件导出全部数据。如果不需要,请先清空筛选条件!
导出查询单据
进入到要货退货页面,点击“导出查询结果-导出查询单据”按钮,可进行导出操作。

导出页面如图显示:

导出查询详情
进入到要货退货页面,点击“导出查询结果-导出查询详情”按钮,可进行导出操作。

导出页面如图显示:

5.搜索
进入到要货退货页面,点击右上角的搜索框/高级搜索,输入关键字进行条件搜索。

以上就是易族智汇javashop为您整理的关于新零售的内容,就为您介绍到这里。想了解更多关于新零售的内容,请关注“新零售栏目https://www.javamall.com.cn/xueyuan/xinlingshou/”
郑重声明:本文版权归原作者所有,转载文章仅为传播更多信息之目的,如作者信息标记有误,请第一时间联系我们修改或删除,多谢。
郑重声明:本文版权归原作者所有,转载文章仅为传播更多信息之目的,如作者信息标记有误,请第一时间联系我们修改或删除,多谢。


